弊社の想い
今、世界の核シェルターの普及率の第一位はスイスの100%。それに対して、現在、日本の核シェルターの普及率は0.02%だそうです。日本中のどの町に行っても、核シェルターは、どこにも無く、日本人はどこに避難したら良いのでしょうか。この問題を何とかしなければなりません。このまま何とかしなければ、日本国、日本民族が滅びてしまいます。もし戦争になったら、一人でも多くの国民が生き延びてもらわなければなりません。東京の大田区の小さな会社が、この問題を何とか解決仕様と思ったとしても、小さな会社の力不足でどうしようもありません。この日本国民を守る、核シェルターを普及させる大事業には、大企業でなければ、達成する事は出来ません。せめて小さな会社が出来る事と言えば、小さな会社の所有している特許と実用新案を活用してもらう事だと考えています。
また、最近の報道によりますと、日本最西端島の与那国島や石垣島では、台湾問題で、もし台湾が戦争になったら、島民は、空路も海路も閉され避難が出来なくなるので、急いで避難用シェルターを作ってほしいとの声が高まっているそうです。又、米国軍基地や自衛隊基地のある全国の周辺自治体、原発のある全国の周辺の自治体、又は、首都圏、全国の主要な都市、ロシアが狙っている北海道全地域等の有事にミサイルが飛んで来る可能性がある地域には、日本国民は避難出来る核シェルターを国をあげて作るべきだと思います。その外、個人の核シェルター等、数多くの核シェルターを作らなければこの日本国、日本民族は滅んでしまいます。
さらに、日本国は地震国でもあります。首都直下地震は、いつ起きても不思議ではないと言われています。南海トラフ地震は、静岡県から宮崎県までの地域で、地震発生確率は、30年以内に70%から80%可能性があるとのことです。この南海トラフ地震も「いつ起きてもおかしくない」と、言われておりまして、最悪の場合、5分以内に津波が押し寄せる地域が有ると言われています。弊社の防災用シェルターで対応できるかと言うと、一つの方法として津波は海の方から、押し寄せて来ます。そこで、後述する弊社の防災用シェルターの連壁の面側ではなく、図の様にシェルター角側を海の方向に向けて、防災用シェルターを設置する(この技術についても実用新案登録出願中)。そして防災用シェルターの強度を上げるために、シェルターの外壁を鉄筋コンクリートで囲み、支えのH鋼、アーチ形連壁等で幾重にも連壁を強加することが出来ます。南海トラフ地震の特長として、前記のように5分以内で津波が来る場合、避難所まではいく時間がありません。そこで自宅に避難するシェルターを設置、それも地下に設置するのではなく、毎日生活している1階にシェルターがあれば、いかなる場合でも、すぐにシェルター内に避難出来ます。
加えて、日本国は、山が多い国でもあります。住宅の裏山で土砂崩れが起き、毎年多数の住宅が被害にあっています。前記の様に、後述する弊社の防災用シェルターを、裏山の方向にシェルターの角側を向けて設置(この技術についても実用新案登録出願中)すれば、土砂崩れにも対応する事が出来ます。
弊社技術のご紹介
弊社は、平成3年2月設立以来、各種基礎杭、山留杭、鋼管杭、PCパイル、節杭、H型鋼杭等を主に大手住宅メーカー及び土木基礎工事業者の杭打工事請負施工を行ってまいりました。弊社では、核シェルターにも利用可能な壁に関する技術(以下、「弊社技術」といいます。)を開発し、弊社技術に関して下記の特許権及び実用新案権を取得致しました。
-
特許権(特許第6865518号)
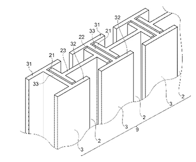
本発明は、右図のように、H型鋼杭2、3を複数用い、配置し、連壁とし、従来の工法の「横矢板」をH型鋼杭間に付設する工事が不要となり、工期の短縮と連壁の強化となる特許です。また、他のH型鋼杭の側面に支えのH型鋼杭をさらに設け、連壁を強固に固定する技術も有しております(以下、併せて、「弊社特許技術」といいます。)。
-
実用新案権(実用新案登録第3238390号)
本考案は、壁1が複数の鋼材(鋼矢板5)が連結されてなり、壁1の上端に避難空間を閉塞するように金属等からなる屋根2が設けられ、壁の外面又は内面に、筋交い8が設けられた地上及び地中にシェルターを形成する技術です。また、壁の周囲はセメントで固定することも可能です(以下、併せて、「弊社実案技術」といいます。)。
- なお、上記権利の権利者は、個人名義となっておりますが、名義人は、弊社の創業者(元代表取締役)であり、現在も弊社の取締役の地位にあります。
弊社が目指すもの
弊社は、弊社技術(弊社特許技術、弊社実案技術)を用いて、以下を目指しております。
- 厚い鋼鉄製の鋼矢板が連結されてなる連壁又は弊社特許技術を用いて形成したH型鋼杭連壁の上部に厚い鉄板の屋根を設け、壁には厚い鋼鉄の筋交いを設けるという、弊社実案技術を用いることにより、核爆発の爆風にも耐え得る強度となるようなシェルターの実現
- シェルターの壁に使用する鋼矢板やH型鋼杭の連壁(弊社特許技術)のサイズを大きくして連壁を強化、さらに、弊社特許技術である支えのH型鋼杭を用いて壁をさらに補強するにより、幾重にも強力な壁を有するシェルターの実現
- セメントミルク工法により鋼材の連壁を強力なセメントで補強した構成(弊所実案技術)とすることで、従来の鋼矢板打設工法で形成したシェルターと比較して、防水の効果が高いシェルターの実現
- 弊社実案技術を用いたシェルター構成とすることで、従来の鉄筋コンクリート壁工法で形成されるシェルターと比較して、数段の工期の短縮が可能となるシェルターの実現

